315晚会曝光后卖增重虾仁企业回应:被点名也没办法
3月15日消息,据315晚会报道,部分生产厂家在加工水产品时违规、超量添加保水剂。
据了解,国家对冷冻水产品中磷酸盐的添加量有着极为严格的规定,但多家企业“会根据客户需求,定制不同规格的虾仁”,例如一家企业的虾仁磷酸盐添加量达到千分之三十,浸泡时间长达十几个小时,保水率高达百分之二十,这会导致虾仁磷酸盐含量严重超标。

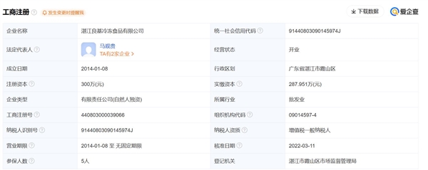
在被点名的公司中,其中就有湛江市良基食品冷冻食品有限公司。该公司负责人回应称,被央视点名也没办法,但我们的虾仁是完全按照国家标准来做的,是规范的。
天眼查App显示,湛江良基冷冻食品有限公司成立于2014年1月,法定代表人为马观贵,注册资本300万人民币,经营范围包括销售预包装食品,收购、冷藏、初加工、销售水产品,由马观贵全资持股。
天眼风险信息显示,2022年4月,该公司在湛江市市场监督管理局(湛江市知识产权局)的抽检结果为责令整改且整改已完成。

上一篇:被315点名后借贷宝道歉:以最大决心落实整改 彻底解决问题
栏 目:资讯
本文标题:315晚会曝光后卖增重虾仁企业回应:被点名也没办法
本文地址:https://zz.feitang.co/ruanjianxiazai/1808.html
您可能感兴趣的文章
- 03-31年轻人的第一台跑车!小跑车SC01将于4月15日上市:售价不超30万元
- 03-31美的集团回应清仓小米股票:正常投资操作
- 03-31宁德时代CTO:为了超充过多牺牲电池产品可靠性不可取
- 03-31用时216天!小鹏MONA M03第十万台下线:创新势力纯电最快生产下线纪录
- 03-31苹果新品剧透:M5芯片iPad Pro、MacBook Pro都在下半年
- 03-31明日起 北京自动驾驶应用场景向个人乘用车拓展
- 03-31雷军把SU7 Ultra的价格打下来后:网友破防
- 03-31央视入股爱奇艺原因曝光:球迷或能免费看国足vs印尼生死战
- 03-31合资家轿之王!新一代日产轩逸配置曝光:有望提供三种动力
- 03-31杨元庆自豪肯定:过去的一年 创造联想历史最佳成绩


阅读排行
推荐教程
- 05-11office2019+visio2019+project2019最新激活密钥和激活方法
- 11-29潘粤明新剧《白夜破晓》豆瓣开分仅7.0:对不起大家7年等待
- 05-11Office 2019产品密钥在哪里输入?如何关联Microsoft帐户?
- 05-11office 2010永久的密钥 office 2010 密钥
- 11-29营销号编造抖音电商一年GMV超2万亿元!官方辟谣
- 07-0372岁刘晓庆想演《封神》里的妲己:演年轻人完全没问题
- 11-29美团回应骑手吐口水:虚假摆拍!已永久限制接单
- 12-02被骂擦边 网友鼎力支持:吴柳芳粉丝量火速反超管晨辰
- 07-04比尔盖茨最新预言:耳机和眼镜才是AI硬件重点
- 03-06只要6元 《王者荣耀》阿轲化蝶舞皮肤今晚0点秒杀





